Visit us this season.

Haunted swing ride.
Warning any places listed in the haunted places requires permission to visit or investigate.
Experience 360 degrees of virtual reality adventure in our newest attraction battle for eire.
Many of the places are patrolled by the authorities trespassers will be prosecuted.
Is a 1930 animated cartoon short directed by the fleischer brothers.
Bengtsons pumpkin festival is just a short drive outside of chicago and is one of the entire nations most popular pumpkin farms.
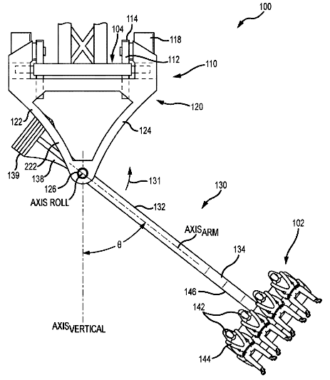
Combining virtual reality with a motion simulator makes this ride a first of its kind at any theme park.
Information for vendors who would like to operate a carnival ride carnival game or carnival food concession on the james e.
Put on your vr headsets and immerse yourself into an action packed adventure that tests your courage.
Warning any places listed in the haunted places requires permission to visit or investigate.
The cartoon is notable for its surreal dark and sometimes even abstract content.
A Day At Barcelona S Tibidabo Amusement Park The Spain Scoop
The Gentleman Crafter New Haunted Thin House Mini And Fall
Knott S Berry Farm S Ghostrider Screamin Swing Closing
In Photos Kennywood Park Then And Now
Santa Cruz Beach Boardwalk Amusement Park Ride Height
Lake Shawnee Amusement Park Haunted And Abandoned
5 Of The Most Haunted Locations In West Virginia Almost
Illusion Produced By A Ride In The Haunted Swing
30 Photos Of Abandoned Amusement Parks Around The Us That
Rides Official Website Of Star City
The Lost Rides Of Blackpool Page 3
Giant Swing Opens On The Edge Of A 1 000ft High Cliff In
Haunted Swing
5 Haunted Amusement Parks Lovetoknow
Reithoffer 2019 Ride Lineup Panhandle South Plains Fair
Set Of 16 Icons Such As Boat Climb Haunted House
236 Foot Thrill Ride Planned For California S Great America
Impossible Blackpool Pleasure Beach
Tr Korea Forums Coasterforce
The Haunted Swing Something Wicked This Way Rotates
Is West Virginia S Shawnee Lake Amusement Park Cursed The
2019 Wade Show Midway Ride List Wsyr
Set Of 16 Icons Such As Roller Coaster Swing Stall Dunk Popcorn
Takakanonuma Greenland Japan Possibly A Chair Swing Ride
Astronauts Caravan Construction
The Rides At Merrie Way Golden Gate National Recreation
The Bloody History Of Lake Shawnee Amusement Park
Category Amusement Rides Wikimedia Commons
The Bug House Hunter Iq Expand Imagination Enhance
Visit Nh Trip Ideas
An Amusement Park Closed Down For Years But At Night Ghosts
Theme Park Review Robb Elissa In Japan 2015 Page 24
Visit Nh Trip Ideas
D E C E P T O L O G Y The Haunted Swing Illusion
Disney S Haunted Mansion Is A Terrific Mess
Types Of Theme Park Attractions Dark Rides Flat Rides
La Revolucion Knott S Berry Farm Wikipedia
Hamburg Dom Attractions Hamburg Com
Haunted House Monster Party Opening Soon At Legoland Windsor
Prater With Haunted Castle Ferris Wheel And Swing
Illusion Produced By A Ride In The Haunted Swing
Amusement Planet Logo Home Updates Forums
The Haunting Of Lake Shawnee Fateful Forlorn History Of
Giant Swing Bangkok Thailand Atlas Obscura
Amusement Park Playground Stickers Cartoon Style Stock
Dad Films Ghost Playing On Playground Swing In Rhode Island
Haunted Virginia City 11 Eerie Places To See
Haunted Bay Area Cbs San Francisco
Haunted House Monster Party New Ride Legoland Windsor Resort
The Haunted Swing 1894 Stock Photo 28979717 Alamy
Attraction Fuji Q Highland
Haunted House Monster Party New Ride Legoland Windsor Resort
Queen Mary Ghost Story About A Devious Chef Inspires Liner S
Unique Rides At Pennsylvania Parks
The Land Of Make Believe What S New
Abandoned West Virginia Amusement Park Has A Bloody History
Rehoboth S Funland Ready For A New Season Cape Gazette
Small Park Showcase Dutch Wonderland Coaster101
Dinosaurs Mad Houses And Flying Boats Part 10 Of The
Is West Virginia S Shawnee Lake Amusement Park Cursed The
Abandoned West Virginia Amusement Park Has A Bloody History
The Project Gutenberg Ebook Of Magic Stage Illusions And
Midway Rides
Haunted Swing
The Bloody History Of Lake Shawnee Amusement Park
Mighty Midway Minnesota State Fair
7 Of The Scariest Theme Park Rides In The World Cnn Travel
5 Of America S Most Haunted Roads Thrifty
Dinosaurs Mad Houses And Flying Boats Part 10 Of The
Digging Up The Ghosts Of Disneyland S Haunted Mansion Ride
Anatomy Of The Haunted Mansion Stretch Room Parkeology
Finnegan S Flyer New Extreme Swing Ride Busch Gardens
Video Animated Haunted Clowns Go Round Outdoor Halloween Decor Prop Doll Circus Ebay
8 Facts About Riverdale Road The Most Terrifying Place In
On Dizziness Rebekka Ladewigspatial Confusion Episodes
Haunted Swing
Music Behind The Ride Haunted Mansion
Funland 123 Photos 93 Reviews Arcades 6 Delaware Ave
Midway Red River Ex June 12 21 2020
Theme Park World Ride Viyoutube
Halloween 2017 At Kings Dominion
Haunted Night Zip Line Tour Quad Bike Ride Victoria
Astronauts Caravan Construction
Dolls On Haunted Swing Ride With Paranormal Investigator Mike Banks
Haunted House Monster Party At Legoland Windsor Theme Park
Haunted Mine Drop Glenwood Caverns Adventure Park
May 2016 Journal Plus Magazine By Slo Journal Issuu
Set Of 16 Icons Such As Climb Haunted House Ride Boat Slide
8 Terrifying Amusement Park Accidents Cbc News
Elitch Gardens Planning 17 Story Extreme Swing Ride Called
The Haunted Swing Something Wicked This Way Rotates
Star Strategies Architecture Rotterdam
Thrill Morey S Piers
Madhouse Ride Wikipedia
Kennywood Pirate Ship Ride Malfunction Leaves Riders
Glenwood Caverns Haunted Mine Drop Named Best New Amusement
Haunted Mine Drop Glenwood Caverns Adventure Park
Does Disney S Latest Patent Show The Guardians Of The Galaxy